Seite 1 von 1
Ständerpumpe A 54ET
Verfasst: So 24. Aug 2008, 11:19
von bruxrklaus
Ich habe eine Jung Ständerpumpe Typ A 54ET "geerbt" kann aber über das gute Stück nirgendwo etwas finden.
Obwohl gut erhalten muss das Model wohl schon recht alt sein. Kann es sein, dass diese Pumpe mit der Ständerpumpe J67
identisch ist?
Re: Ständerpumpe A 54ET
Verfasst: Mo 25. Aug 2008, 12:00
von jens_hoewener
Hallo bruxrklaus,
Glückwunsch zu deinem "Erbe", ich hoffe sie läuft noch. Identisch ist diese Ständerpumpe mit der neueren J67 leider nicht.

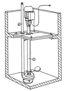
- Typische Einbausituation vor der "Machtübernahme" der Tauchpumpen
- Staenderpumpe-im-Schacht.jpg (14.55 KiB) 42089 mal betrachtet
Allerdings ist der Elektromotor von der J67 verwendbar, wie mir die Spezialisten aus unserer Reparaturabteilung gesagt haben. Es sollen auch noch vereinzelt Ersatzteile vorrätig sein. Eine alte Betriebsanleitung mit Ersatzteilliste geht an deine angegebene Emailadresse.
Ich hoffe das hilft dir vorerst, falls du Ersatzteile benötigen solltest, wende dich bitte an unsere
Serviceabteilung.
Re: Ständerpumpe A 54ET
Verfasst: Di 9. Aug 2016, 01:02
von anton06
hallo zusammen,
ich habe zwei j67 städerpumpen in neu.lagen trocken und warm im keller über lange jahre.beide laufen.was mache ich damit und wenn sie jemand brauchen kann,wie werden die gehandelt?
Re: Ständerpumpe A 54ET
Verfasst: So 21. Aug 2016, 11:05
von Fritz35
Hallo Anton 06 ich hätte Interesse an deinen Pumpen wenn du sie verkaufen willst .Schick mir doch mal eine Preisvorstellung